ããè¿æï¼å½å®¶è¯å ¸å§å¯éå ¬ç¤ºäºä¸æ¹ä¸è¯æ åä¿®è®¢èæ¡ãæ¢æä¸è¯æã饮çï¼ä¹æä¸æè¯ãé æ¹é¢ç²çåç§æ åï¼ä¹æééå±åè¯æãé¥®çæ£å®éåä¿®è®¢èæ¡ãççææ²¡æä½ å ³å¿çåç§å§ï¼
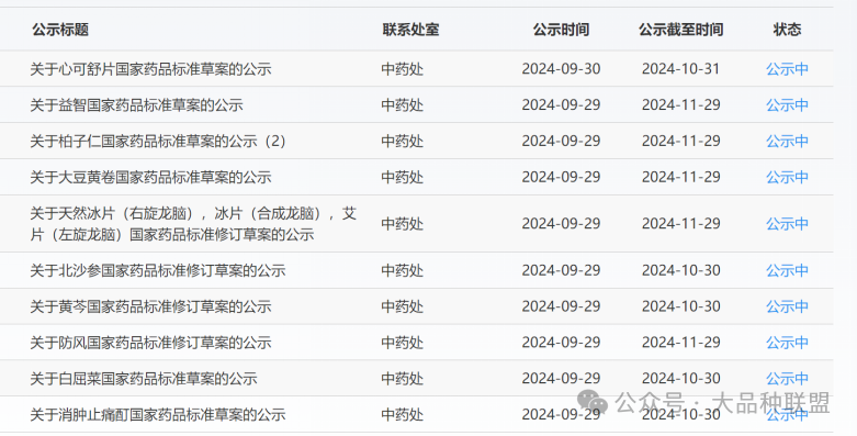
ãã2024å¹´9æ29-30æ¥ï¼å½å®¶è¯å ¸å§å ¬ç¤ºäº19个ä¸è¯æ åèæ¡ï¼é»è¿ãè¾å¶ãå·èãå»¶è¡ç´¢ï¼å è¡ï¼ãæ£æ¦ãçæºãæåä»ã大è±é»å·ãåæ²åãé»è©ãé²é£ãç½å±èã天ç¶å°çï¼å³æé¾èï¼ï¼å°çï¼åæé¾èï¼ï¼è¾çï¼å·¦æé¾èï¼ï¼å¤æ±å »çç²¾é¢ç²ã夿±å »çç²¾å£ææ¶²ã夿±å »çç²¾çãå¿å¯èçãæ¶è¿æ¢çé ã
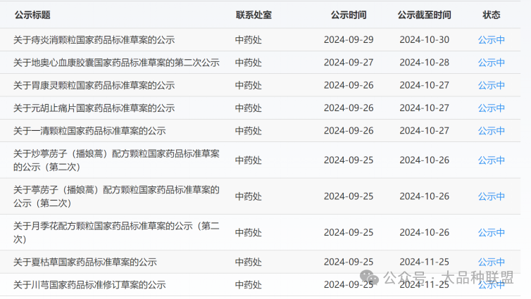
ãã9æ27æ¥ï¼åå¸äºå°å¥¥å¿è¡åº·è¶åå½å®¶è¯åæ åèæ¡çç¬¬äºæ¬¡å ¬ç¤º ã
ãã9æ26æ¥ï¼å ¬ç¤ºäºè康çµé¢ç²ãå è¡æ¢ççã䏿¸ é¢ç²3ä¸ªä¸æè¯å½å®¶è¯åæ åèæ¡ã
ãã09æ25æ¥åå¸äº2个ä¸è¯æ åå ¬ç¤ºï¼åå«ä¸ºå¤æ¯èåå·èã
ãã09æ19æ¥åå¸äºæ³åæ åå ¬ç¤ºã
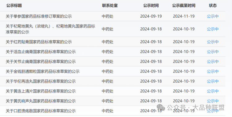
ãã9æ18æ¥ï¼å ¬ç¤ºäº16个ä¸è¯æ åèæ¡ï¼æèå°é»ä¸¸ï¼æµç¼©ä¸¸ï¼ãæèå°é»ä¸¸ã红è¯è´´èãæ´»è¡æ¢çèãå ³èæ¢çèãéé±èéé¢ç²ãåä½åé 丸ãé»è¿ä¸æ¸ çã黿°å声丸ãå£è æºç¡æ£ãåè¡ãçå§é»ãå±±æ èãçç½æ£ãè¡è康è¶åãè¡è康çã
ãã9æ5-12å·ï¼å åå ¬ç¤ºäºå¤æ¹é»è¿ç´ çãå¥å¿æ¶é£å£ææ¶²ãé¦ç å å丸ãä¹å³åè§£å£ææ¶²ãèµå±±è²é¢ç²ãæéª¨å¢ç丸ãæå¿ åº7ä¸ªä¸æè¯ï¼ä¸ä¸ãèæ¯ä¸¤ä¸ªä¸è¯æçå½å®¶è¯åæ åä¿®è®¢èæ¡ã





ããå ¶ä¸29/30æ¥å ¬å¸æ åæ°å¢é¡¹ç®çåç§æ11个ï¼
ããé»è¿ãè¾å¶ãå·èï¼ææ°å¢ééå±ä¸æå®³å ç´ æ£æ¥é¡¹ï¼ï¼
ããçæºè¯æï¼å¢è®¢çæºè¯æçæ°´åæ£æ¥é¡¹ï¼æµ¸åºç©é¡¹ï¼ï¼
ããçæºé¥®çï¼å¢è®¢çæºä»é¥®ççæ»ç°åãé ¸ä¸æº¶æ§ç°åæ£æ¥é¡¹ï¼æµ¸åºç©é¡¹ï¼ï¼
ããççæºä»é¥®çï¼å¢è®¢ççæºä»é¥®ççæµ¸åºç©é¡¹ï¼ï¼
ããæåä»ï¼å¢è®¢æåä»è¯æèå±è²è°±é´å«é¡¹ï¼å¢è®¢æåä»é¥®çèå±è²è°±é´å«é¡¹ï¼ï¼
ãã大è±é»å·ï¼å¢è®¢å¤§è±é»å·ç浸åºç©æµå®é¡¹ï¼ï¼
ããåæ²åè¯æï¼æ°å¢ç²æ«æ¾å¾®é´å«é¡¹ï¼æ°å¢æ°´åãæ»ç°åæ£æ¥ï¼æ°å¢æµ¸åºç©é¡¹ï¼ï¼
ããåæ²å饮çï¼å¢åæ§ç¶é¡¹ï¼é´å«ãæ£æ¥ã浸åºç©é¡¹åè¯æï¼ï¼
ãã夿±å »çç²¾é¢ç²ã夿±å »çç²¾å£ææ¶²ã夿±å »çç²¾çï¼æ°å¢äºå¥³è´åçèå±é´å«é¡¹ï¼ï¼
ããå¿å¯èçï¼ãé´å«ãæ°å¢äºå±±æ¥çæ¾å¾®é´å«ï¼ã
ããååç§æ°å¢å ·ä½å 容å¦ä¸ï¼
ãã1ãé»è¿
ããæ ¹æ®æ¬åééå±åæå®³å ç´ è积åä¸å壤ç¸å ³æ§ç ç©¶ç»æï¼ææ°å¢ééå±ä¸æå®³å ç´ æ£æ¥é¡¹ï¼
ãã2ãè¾å¶
ããæ ¹æ®æ¬åééå±åæå®³å ç´ è积åä¸å壤ç¸å ³æ§ç ç©¶ç»æï¼ææ°å¢ééå±ä¸æå®³å ç´ æ£æ¥é¡¹ï¼
ãã3ãå·è
ããæ ¹æ®æ¬åééå±åæå®³å ç´ è积åä¸å壤ç¸å ³æ§ç ç©¶ç»æï¼ææ°å¢ééå±ä¸æå®³å ç´ æ£æ¥é¡¹ï¼
ãã4ãå»¶è¡ç´¢ï¼å è¡ï¼
ããè§èäºå»¶è¡ç´¢é¥®ççç®å¶é¡¹è¡¨è¿°ï¼å¹¶å®åäºæ§ç¶é¡¹ã
ãã5ãæ£æ¦
ããå®åäºæ£æ¦è¯æãæ£æ¦é¥®çãæ£æ¦ç饮ççæ¾å¾®ç¹å¾ã
ãã6ãçæº
ããå¢è®¢çæºè¯æçæ°´åæ£æ¥é¡¹ï¼æµ¸åºç©é¡¹ï¼å¢è®¢çæºä»é¥®ççæ»ç°åãé ¸ä¸æº¶æ§ç° 忣æ¥é¡¹ï¼æµ¸åºç©é¡¹ï¼å¢è®¢ççæºä»é¥®ççæµ¸åºç©é¡¹ã
ãã7ãæåä»
ããå¢è®¢æåä»è¯æèå±è²è°±é´å«é¡¹ï¼å¢è®¢æåä»é¥®çèå±è²è°±é´å«é¡¹ã
ãã8ã大è±é»å·
ããå¢è®¢å¤§è±é»å·ç浸åºç©æµå®é¡¹ã
ãã9ãåæ²å
ãã1. å®åäºåæ²åè¯æçæ§ç¶é¡¹è¡¨è¿°ï¼
ãã2. å®åäºåæ²åè¯æçæ¨ªå颿¾å¾®ç¹å¾ï¼æ°å¢ç²æ«æ¾å¾®é´å«é¡¹ï¼
ãã3. åæ²åè¯ææ°å¢æ°´åãæ»ç°åæ£æ¥ï¼æ°å¢æµ¸åºç©é¡¹ï¼
ãã4. åæ²å饮çå¢åæ§ç¶é¡¹ï¼é´å«ãæ£æ¥ã浸åºç©é¡¹åè¯æã
ãã10ãé»è©
ãã1. å®åäºé»è©è¯æçæ¾å¾®ç¹å¾ï¼
ãã2. å®åäºé»è©é¥®çï¼é é»è©é¥®ççæ§ç¶ã
ãã11ãé²é£
ãã1. 修订äºé²é£è¯æçæ§ç¶ï¼
ãã2. 修订äºé²é£è¯æçå«éæµå®æ¹æ³ï¼æ´æ¢äºææ æåå¹¶å¶è®¢äºç¸åºçé度ï¼
ãã3. é²é£é¥®çåæ¥ä¿®è®¢ã
ãã12ãç½å±è
ããå®åäºç½å±èè¯æçæ§ç¶é¡¹è¡¨è¿°
ãã12ã天ç¶å°çï¼å³æé¾èï¼
ãã修订äºå«éæµå®æ¹æ³ï¼å¹¶ç¸åºè°æ´äºéåº¦è¦æ±ãæ£æ¥é¡¹ä¸æ¨èçæµå®æ¹æ³åæ¥ä¿®è®¢ã
ãã13ãå°çï¼åæé¾èï¼
ãã1. å é¤åæ åä¸çç»æå¼ï¼ååå¼ä¸ååéï¼
ãã2. 修订äºå«éæµå®æ¹æ³ï¼æ£æ¥é¡¹ä¸æ¨èçæµå®æ¹æ³åæ¥ä¿®è®¢ã
ãã14ãè¾çï¼å·¦æé¾èï¼
ãã修订äºå«éæµå®æ¹æ³ï¼æ£æ¥é¡¹ä¸å¼é¾èãæ¨èçæµå®æ¹æ³åæ¥ä¿®è®¢ã
ãã15ã夿±å »çç²¾é¢ç²
ãã1.ãé´å«ã修订äºäººåãé»èªãæ¸æåãæ·«ç¾è¿ãç½èçèå±é´å«é¡¹ï¼æ°å¢äºå¥³è´åçèå±é´å«é¡¹ã
ãã2.ãå«éæµå®ãä¿®è®¢äºæ·«ç¾è¿çå«éæµå®æ¹æ³ã
ãã16ã夿±å »çç²¾å£ææ¶²
ãã1.ãæ§ç¶ã修订é¢è²èå´ã
ãã2.ãé´å«ã修订äºäººåãé»èªãæ¸æåãæ·«ç¾è¿ãç½èçèå±é´å«ï¼æ°å¢äºå¥³è´åçèå±é´å«ã
ãã3.ãå«éæµå®ãä¿®è®¢äºæ·«ç¾è¿çå«éæµå®æ¹æ³ã
ãã17ã夿±å »çç²¾ç
ãã1.ãé´å«ã修订äºäººåãé»èªãæ·«ç¾è¿ãæ¸æåãç½èçèå±é´å«ï¼æ°å¢äºå¥³è´åç èå±é´å«ã
ãã2.ãå«éæµå®ãä¿®è®¢äºæ·«ç¾è¿çå«éæµå®é¡¹ã
ãã18ãå¿å¯èç
ãã1.ãå¶æ³ãå°âå°çââ大çâåå«è§è为âè§æ ¼ 1ââè§æ ¼ 2â
ãã2.ãé´å«ãæ°å¢äºå±±æ¥çæ¾å¾®é´å«ãå é¤äºå±±æ¥ç HPLC è²è°±é´å«ã建议对山æ¥çé´å«æç»ç ç©¶ï¼å»ºç«ä¸å±æ§çæ¹æ³ã
ãã3.ãç¹å¾å¾è°±ã修订äºè²è°±æ¡ä»¶ä¸ç³»ç»éç¨æ§è¯éªå 容ã
ãã4.ãå«éæµå®ã修订äºä¸¹åãèæ ¹å«éæµå®é¡¹ä¸çè²è°±æ¡ä»¶çå 容ã
ãã5.ãè§æ ¼ãæ ¹æ®ã䏿è¯è§æ ¼è¡¨è¿°ææ¯æå¯¼ååãï¼è§èäºè§æ ¼é¡¹
ãã19ãæ¶è¿æ¢çé
ãã1.ãé´å«ã修订äºèè¯è·çèå±é´å«é¡¹ã
ãã2.ãå«éæµå®ãè§èäºä¾è¯å溶液å¶å¤æ¹æ³çæå表述ã以g为åä½éæ°æç®äºå«éé度ã
ãã3.ãç¨æ³ä¸ç¨éã以g为åä½éæ°æç®äºæç¨éã
ãã4.ãè§æ ¼ãæ ¹æ®ã䏿è¯è§æ ¼è¡¨è¿°ææ¯æå¯¼ååãï¼è§èäºè§æ ¼é¡¹ã
ãã9æ18æ¥ä¿®è®¢é¡¹ç®æ¯è¾å¤çåç§æï¼
ããéé±èéé¢ç²
ãã1.ãå¶æ³ãæ ¹æ®çå±å¤æ¡ææï¼ä¿®è®¢äºå¶æ³é¡¹ã
ãã2.ãæ§ç¶ãä¿®è®¢äºæ§ç¶é¢è²èå´ã
ãã3.ãé´å«ã修订äºéé±èãèµéã丹åãæ´è¡çèå±é´å«:æ°å¢äºèæã峿åçèå±é´å«ã
ãã4.ãå«éæµå®ãæ°å¢äºèæä¸èæè·ç HPLC å«éæµå®é¡¹ã
ãã5.ãè§æ ¼ãæ ¹æ®ã䏿è¯è§æ ¼è¡¨è¿°ææ¯æå¯¼ååãï¼å¯¹è§æ ¼è¿è¡äºè§èã
ããåè¡
ãã1.å®åäºåè¡è¯æçæ¥æºä¸æ§ç¶è¡¨è¿°ï¼
ãã2.修订äºè¯æçèå±é´å«æ¹æ³ï¼å¹¶æ°å¢å¯¹ç §è¯æä½å¯¹ç §;
ãã3.修订äºè¯æçå«éæµå®é¡¹ï¼è°æ´äºææ æåçé度;
ãã4.åè¡é¥®çãèåè¡é¥®çåæ¥ä¿®è®¢ã
ããçå§é»
ãã1. 修订äºçå§é»è¯ææ¥æºä¸çå¹²ç¥æ¹å¼ï¼ä¿®è®¢äºæ§ç¶ï¼
ãã2. 修订äºçå§é»è¯æçèå±é´å«æ¹æ³ï¼å¹¶æ°å¢èªæ¯äºé ®å¯¹ç §åä½å¯¹ç §ï¼
ãã3. æ°å¢æ°´åãæ»ç°åãé ¸ä¸æº¶æ§ç°åæ£æ¥é¡¹ï¼æ°å¢æµ¸åºç©é¡¹ï¼
ãã4. å¨åææ¥åæ²¹å«éæµå®çåºç¡ä¸ï¼æ°å¢èªæ¯äºé ®ãç»çå¿é ®çå«éæµå®ï¼
ãã5. å¢å饮çå 容ï¼ç®å¶ä¸ºç®ååå¶ï¼ç¸å ³é¡¹ç®åè¯æã
ããå±±æ è
ãã1. å®åäºå±±æ èè¯æçæ¥æºä¸æ§ç¶é¡¹è¡¨è¿°ï¼
ãã2.å®åäºè¯æç横å颿¾å¾®ç¹å¾è¡¨è¿°ï¼æ°å¢ç²æ«æ¾å¾®é´å«;3.æ°å¢èå±é´å«ï¼æ¯æ èä¸å°çååå«è§å®ï¼
ãã4.æ°å¢æ°´åãæ»ç°åæ£æ¥é¡¹ï¼æ°å¢æµ¸åºç©é¡¹ï¼
ãã5.è§èäºå±±æ è饮çç®å¶é¡¹ç表述ï¼å¢åæ§ç¶é¡¹ï¼ç¸å ³é¡¹ç®åè¯æã
ããçç½æ£
ãã1.æ ¹æ®è¯åè¡¥å ç³è¯·æ¹åéç¥ä¹¦ï¼ä¿®è®¢äºè§æ ¼é¡¹åç¨æ³ç¨éç表述ã
ãã2.å¶å®äºç¡«é ¸äºéçå«éä¸ä¸é
ããè¡è康è¶å
ãã1.å é¤äºå¶åæ åååéæ åä¸ç红æ²èå±è²è°±é´å«é¡¹ã
ãã2.å¢å äºå¶åçæº¶åºåº¦æ£æ¥ã
ãã3.修订äºå¶åå红æ²çå«éæµå®æ¹æ³ï¼å¶å®äºå¶å䏿´ä¼ä»æ±çå«éä¸ä¸éã
ãã4.æ°å¢äºçº¢æ²ä¸æ¡ééç´ çé鿣æ¥é¡¹ã
ããè¡è康ç
ãã1.å é¤äºçº¢æ²çèå±é´å«ï¼
ãã2.æ°å¢äºæº¶åºåº¦çæ£æ¥é¡¹ã
ãã3.修订äºå«éæµå®çæ¹æ³ï¼å¶å®äºå«éé度ä¸ä¸éã
ãã修订å 容ï¼
ãã1ãæèå°é»ä¸¸ï¼æµç¼©ä¸¸ï¼
ãããé´å«ãé¡¹ï¼æä¿®è®¢æ¸æåé´å«çå±å¼æ¡ä»¶ã
ãã2ãæèå°é»ä¸¸
ãããé´å«ãé¡¹ï¼æä¿®è®¢æ¸æåé´å«çå±å¼æ¡ä»¶ã
ãã3ã红è¯è´´è
ãã4ãæ´»è¡æ¢çè
ãã5ãå ³èæ¢çè
ãã修订äºå ³èæ¢çèä¸é¢ èæµæµ¸èçèå±é´å«é¡¹ã
ãã6ãéé±èéé¢ç²
ãã1.ãå¶æ³ãæ ¹æ®çå±å¤æ¡ææï¼ä¿®è®¢äºå¶æ³é¡¹ã
ãã2.ãæ§ç¶ãä¿®è®¢äºæ§ç¶é¢è²èå´ã
ãã3.ãé´å«ã修订äºéé±èãèµéã丹åãæ´è¡çèå±é´å«:æ°å¢äºèæã峿åçèå±é´å«ã
ãã4.ãå«éæµå®ãæ°å¢äºèæä¸èæè·ç HPLC å«éæµå®é¡¹ã
ãã5.ãè§æ ¼ãæ ¹æ®ã䏿è¯è§æ ¼è¡¨è¿°ææ¯æå¯¼ååãï¼å¯¹è§æ ¼è¿è¡äºè§èã
ãã7ãåä½åé 丸
ãã8ãé»è¿ä¸æ¸ ç
ãã9ã黿°å声丸
ãã10ãå£è æºç¡æ£
ãã11ãåè¡
ãã1.å®åäºåè¡è¯æçæ¥æºä¸æ§ç¶è¡¨è¿°ï¼
ãã2.修订äºè¯æçèå±é´å«æ¹æ³ï¼å¹¶æ°å¢å¯¹ç §è¯æä½å¯¹ç §;
ãã3.修订äºè¯æçå«éæµå®é¡¹ï¼è°æ´äºææ æåçé度;
ãã4.åè¡é¥®çãèåè¡é¥®çåæ¥ä¿®è®¢ã
ãã12ãçå§é»
ãã1. 修订äºçå§é»è¯ææ¥æºä¸çå¹²ç¥æ¹å¼ï¼ä¿®è®¢äºæ§ç¶ï¼
ãã2. 修订äºçå§é»è¯æçèå±é´å«æ¹æ³ï¼å¹¶æ°å¢èªæ¯äºé ®å¯¹ç §åä½å¯¹ç §ï¼
ãã3. æ°å¢æ°´åãæ»ç°åãé ¸ä¸æº¶æ§ç°åæ£æ¥é¡¹ï¼æ°å¢æµ¸åºç©é¡¹ï¼
ãã4. å¨åææ¥åæ²¹å«éæµå®çåºç¡ä¸ï¼æ°å¢èªæ¯äºé ®ãç»çå¿é ®çå«éæµå®ï¼
ãã5. å¢å饮çå 容ï¼ç®å¶ä¸ºç®ååå¶ï¼ç¸å ³é¡¹ç®åè¯æã
ãã13ãå±±æ è
ãã1. å®åäºå±±æ èè¯æçæ¥æºä¸æ§ç¶é¡¹è¡¨è¿°ï¼
ãã2.å®åäºè¯æç横å颿¾å¾®ç¹å¾è¡¨è¿°ï¼æ°å¢ç²æ«æ¾å¾®é´å«;3.æ°å¢èå±é´å«ï¼æ¯æ èä¸å°çååå«è§å®ï¼
ãã4.æ°å¢æ°´åãæ»ç°åæ£æ¥é¡¹ï¼æ°å¢æµ¸åºç©é¡¹ï¼
ãã5.è§èäºå±±æ è饮çç®å¶é¡¹ç表述ï¼å¢åæ§ç¶é¡¹ï¼ç¸å ³é¡¹ç®åè¯æã
ãã14ãçç½æ£
ãã1.æ ¹æ®è¯åè¡¥å ç³è¯·æ¹åéç¥ä¹¦ï¼ä¿®è®¢äºè§æ ¼é¡¹åç¨æ³ç¨éç表述ã
ãã2.å¶å®äºç¡«é ¸äºéçå«éä¸ä¸éã
ãã15ãè¡è康è¶å
ãã1.å é¤äºå¶åæ åååéæ åä¸ç红æ²èå±è²è°±é´å«é¡¹ã
ãã2.å¢å äºå¶åçæº¶åºåº¦æ£æ¥ã
ãã3.修订äºå¶åå红æ²çå«éæµå®æ¹æ³ï¼å¶å®äºå¶å䏿´ä¼ä»æ±çå«éä¸ä¸éã
ãã4.æ°å¢äºçº¢æ²ä¸æ¡ééç´ çé鿣æ¥é¡¹ã
ãã16ãè¡è康ç
ãã1.å é¤äºçº¢æ²çèå±é´å«ï¼
ãã2.æ°å¢äºæº¶åºåº¦çæ£æ¥é¡¹ã
ãã3.修订äºå«éæµå®çæ¹æ³ï¼å¶å®äºå«éé度ä¸ä¸éã
ãã2024å¹´09æ11æ¥ï¼å½å®¶è¯å ¸å§åå¸äº3个ä¸è¯æ åå ¬ç¤ºï¼åå«ä¸ºå¥å¿æ¶é£å£ææ¶²å ¬ç¤ºæ2个æãé¦ç å åä¸¸å ¬ç¤ºæ2个æãä¹å³åè§£å£ææ¶²å ¬ç¤ºæ3个æã
ããæ¥æºï¼ä¸è¯å¤§åç§èç
å¨çº¿åå
éç¥äº¬ä¸å è¡æ¢ç滴丸
ç¾å©é禾åº
æ®å®åº·å®£èºæ¢å½åå
æé³åå
æé³